tp钱包怎么看授权了哪些东西-授权一目了然,TP钱包助您轻松管理数字资产

im手游网

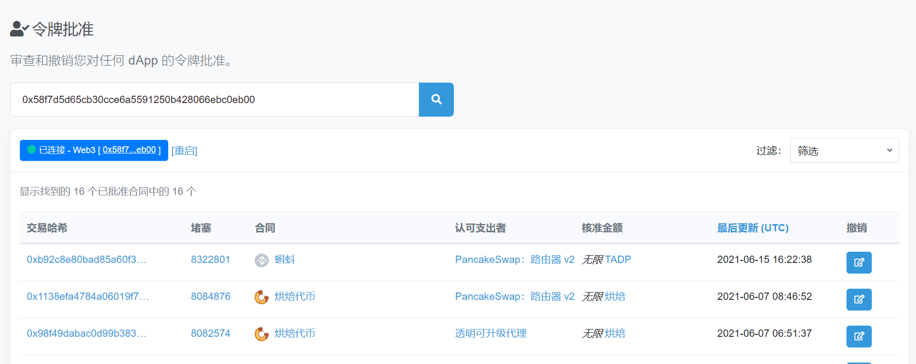
作为一款功能强大的数字资产管理工具,TP钱包提供了丰富的功能,其中之一就是授权查看功能。通过这个功能,用户可以方便地查看自己在TP钱包中授权给其他应用或合约的权限。

什么是授权?

在区块链世界中,授权是指将自己的数字资产或身份信息交由其他应用或合约进行操作或使用的过程。例如,你可能会将你的代币授权给一个去中心化交易所进行交易,或者将你的身份信息授权给一个去中心化身份验证应用。

钱包授权被盗_钱包授权是什么意思_tp钱包怎么看授权了哪些东西

为什么要查看授权?

钱包授权是什么意思_钱包授权被盗_tp钱包怎么看授权了哪些东西

查看授权可以帮助用户了解自己的数字资产被哪些应用或合约所使用,以及这些应用或合约能够对数字资产做出哪些操作。这样可以让用户更好地管理自己的资产,并保证资产的安全性。

tp钱包怎么看授权了哪些东西_钱包授权被盗_钱包授权是什么意思

如何在TP钱包中查看授权?

钱包授权是什么意思_钱包授权被盗_tp钱包怎么看授权了哪些东西

在TP钱包中查看授权非常简单。首先,打开TP钱包并登录你的账户。然后,在钱包主页上找到“我的”选项,并点击进入。接下来,在“我的”页面中找到“授权查看”选项,并点击进入。

在授权查看页面,你可以看到所有已经授权给其他应用或合约的权限列表。每一项权限都会显示授权的应用或合约的名称以及该权限能够操作的数字资产类型。你可以通过滑动屏幕来查看更多的授权信息。

tokenpocket官网版下载:https://cjge-manuscriptcentral.com/software/65916.html